Geen producten (0)
Geen producten (0)

Locker slot - Kantelslot - 30mm - RAL 9005 - 1333 - vlinderslot

€ 19,95 (inclusief btw 21%)
Op voorraad
Specificaties
Productcode P202303081430
Productcode leverancier L202303081430
Omschrijving

Locker slot - Kantelslot - 30mm - Gelijke sleutels - 1333

Locker slot met gelijke sleutels. 

Dit locker slot, ook wel een kantelslot genoemd, wordt veel gebruikt bij lockers, brievenbussen, en opbergkasten. Dit slot heeft een inbouwdiepte van 30mm en gelijke sleutels, waardoor deze altijd gelijk zijn en uitwisselbaar zijn. Dit slot heeft een rotatie van 90 graden en 2 vaste posities. 

SPECIFICATIES
  • Locker slot
  • Gelijke sleutels, dus uitwisselbaar tussen verschillende sloten
  • Sleutelcode: 1333
  • Ideaal voor lockers, brievenbussen, opbergkasten, etc. 
  • Inbouwdiepte: 30mm
  • Inbouwdiameter: 16mm 
  • Breedte kop: 49mm
  • Materiaal: verzinkt aluminium 
  • Wordt geleverd met twee sleutels 
  • Kleur: RAL 9005 zwart
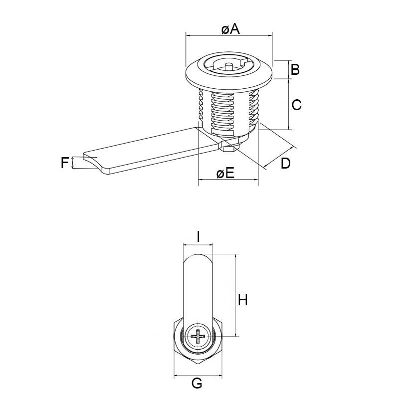
AFMETINGEN UIT AFBEELDING
  • Diameter kop (A): 21mm
  • Hoogte kop (B): 19mm
  • Inbouw diepte: (C): 30mm
  • Inbouw vlakke kant (D): 19,2mm
  • Inbouw diameter (E): 21,2mm
  • Dikte lepel (F): 3mm
  • Bout maat (G): 22mm
  • Lengte lepel (H): 44mm
  • Breedte lepel (I): 19mm
Facebook Twitter Pinterest