Geen producten (0)
Geen producten (0)
1 2
 

20mm Brievenbus slot - Groot rond

€ 11,95 (inclusief btw 21%)
Op voorraad
Specificaties
Productcode P201804181005
Productcode leverancier L201804181005
Omschrijving

20mm Brievenbus slot - Groot rond

 


Inclusief extra tweede sleutel

 

  • Stabiel positienummer 2-positie
  • Aantal van alle posities 2
  • Bevestigingsgatdiameter Ø20mm                      
  • Sleutel vorm vlak       
  • Mechanische rotatiehoek 180 °
  • kunststof borging       
  • Totale lengte 33mm  
  • 20 x 27mm x 32mm (Diam. x Lengte x Breedte)
  • 2 sleutels

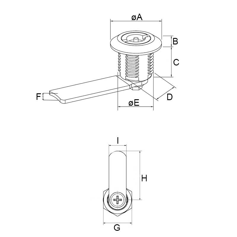
AFMETINGEN UIT AFBEELDING

Diameter kop (A): 25mm

Hoogte kop (B): 5mm

Inbouw diepte: (C): 13mm

Werkmaat (D): 21mm

Inbouw diameter (E): 20mm

Dikte lepel (F): 2mm

Bout maat (G): 24mm

Lengte lepel (H): 31mm

Breedte lepel (I): 14mm

Facebook Twitter Pinterest